ЕК-12 (2013). 312-04-03.51.000 (312-04-03.51.000-20) Установка силовая (с двигателем Д-243)
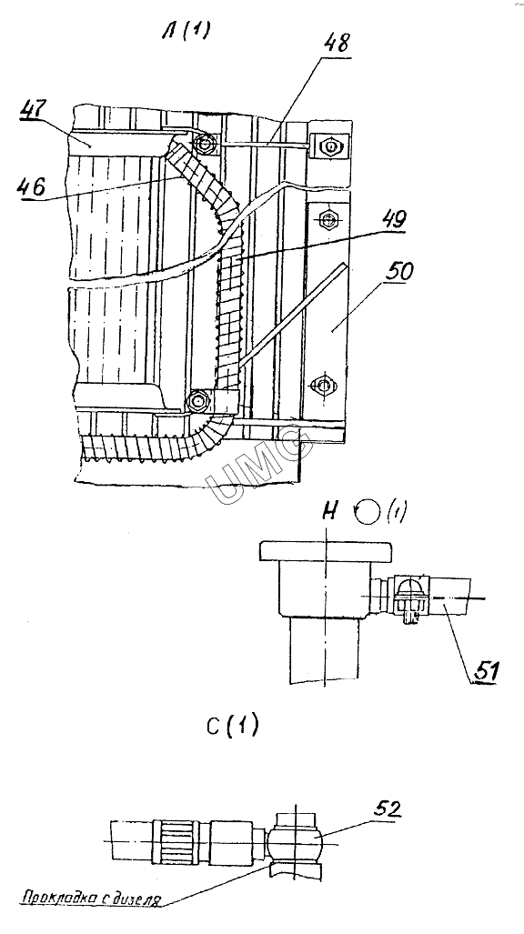
46
47
48
49
50
51
52
| Позиция на иллюстрации | Заводской номер детали | Название детали | |
|---|---|---|---|
| 1 | 005-01-03.02.005 | Оплетка | |
| 2 | 14х22.5-1.6 | Рукав | |
| 3 | ЭО-3323.01.05.011 | Скоба | |
| 4 | Э-302-1-1600-14 | Хомутик | |
| 5 | РВ-КМ-ЕК12 | Радиатор | |
| 6 | 312-04-03.51.040-10 | Кронштейн | |
| 7 | 38х49-1,6 | Рукав | |
| 8 | 312-04-03.51.007 | Патрубок В20 ГОСТ 8733-74 | |
| 9 | ЭО-3323.04.04.002 | Шланг | |
| 10 | ЭО-312-04-03.51.080-30 | Шланг | |
| 11 | ЭО-3322А-23.03.004 | Штуцер | |
| 12 | 312-04-03.51.100 | Управление двигателем | |
| 13 | Д-243С-666 | Дизель | |
| 14 | 38х49-1.6 | Рукав | |
| 15 | 312-04-03.51.020 | Патрубок нижний | |
| 16 | 314-02-03.09.000-40 | Установка насоса | |
| 16 | 314-02-03.09.000-20 | Установка насоса | |
| 17 | 14х22.5-1.6 | Рукав | |
| 18 | 70-140.5230 | Фильтр сетчатый | |
| 19 | 312-04.03.51.010 | Планка | |
| 20 | 312-04.03.51.010-10 | Планка | |
| 21 | 312-04-03.50.100 | Растяжка | |
| 22 | М16-8gx140.109.40x019 | Болт | |
| 23 | М16-6Н.5.012 | Гайка | |
| 24 | 16.65Г.019 | Шайба | |
| 25 | 312-04-03.51.002 | Чашка | |
| 26 | 312-40-04.00.020 | Втулка опорная | |
| 27 | 312-04-03.51.006 | Амортизатор | |
| 28 | 312-04-03.51.016 | Планка | |
| 29 | 312-04-03.51.080-20 | Шланг | |
| 30 | 312-04-03.51.017 | Штуцер | |
| 31 | 312-04-03.51.080-10 | Шланг | |
| 32 | 312-04-03.51.090 | Трубопровод | |
| 33 | 005-01-03.02.004 | Оплетка | |
| 34 | ЭО-3323.04.04.003 | Штуцер | |
| 35 | 13-22 | Хомут | |
| 36 | 20М3 | Прокладка | |
| 37 | ЭО-3323.04.00.003 | Хомут | |
| 38 | ЭО-3323.04.00.002 | Планка | |
| 39 | 312-04-03.51.018 | Уголок | |
| 40 | М8-6Н.5.019 | Гайка ГОСТ 5927-70 | |
| 41 | 8.65Г.019 | Шайба | |
| 42 | C8.01.019 | Шайба | |
| 43 | ВМ8-8gx20.58.019 | Болт | |
| 44 | 312-04-03.51.070 | Кронштейн | |
| 45 | 312-04-03.51.015 | Хомут | |
| 46 | 005-01-03.02.006 | Оплетка | |
| 47 | РМ100-1013030 | Радиатор масляный | |
| 48 | 312-04-03.51.050 | Тяга | |
| 49 | 14х22.5-1.6 | Рукав | |
| 50 | 312-04-03.51.040 | Кронштейн | |
| 51 | 8х18-4.0 | Рукав | |
| 52 | 13.03.02.009 | Штуцер | |
| 53 | 312-04-03.50.600 | Глушитель | |
| 54 | 312-04-03.51.001 | Кожух | |
| 55 | ЭО-3323.04.00.009 | Штуцер |