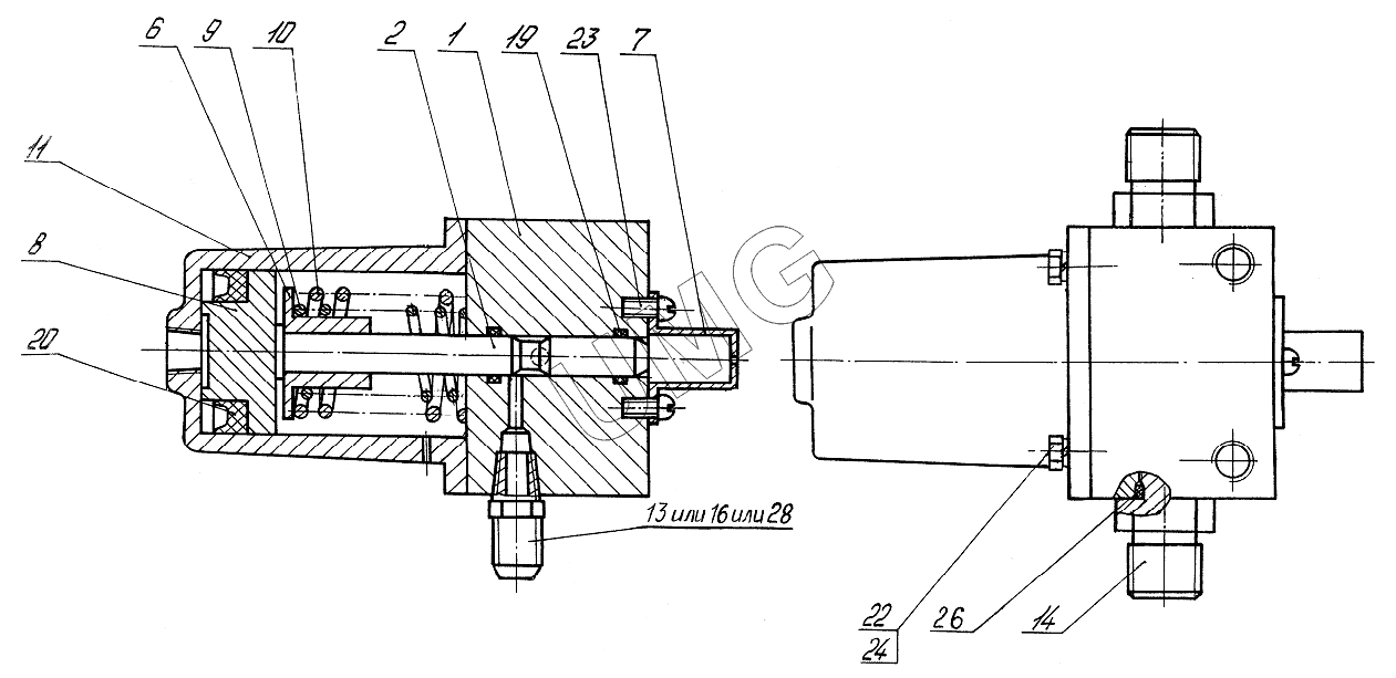
ЕК-12 (2013). ЭО-3322Д.60.05.000 Клапан пневмогидравлический для модификаций с опорой-отвалом и аутригерами
1
2
6
7
8
9
10
11
11
13
14
16
19
20
22
23
24
26
28
| Позиция на иллюстрации | Заводской номер детали | Название детали | |
|---|---|---|---|
| 1 | ЭО-3322Д.60.05.003 | Корпус | |
| 2 | ЭО-3322Д.60.05.002 | Золотник | |
| 6 | ЭО-3322Б.60.05.001 | Втулка | |
| 7 | ЭО-3322Б.60.05.004 | Крышка | |
| 8 | ЭО-3322Б.60.05.005 | Поршень | |
| 9 | ЭО-3322Б.60.05.006 | Пружина | |
| 10 | ЭО-3322Б.60.05.007 | Пружина | |
| 11 | ЭО-3322Б.60.05.009 | Стакан | |
| 11 | ЭО-3322Д.60.05.010 | Стакан | |
| 13 | ЭО-3322А.23.03.004 | Штуцер | |
| 14 | ЭО-3323.20.83.013 | Штуцер | |
| 16 | ЭО-3322А.09.40.004 | Пробка коническая | |
| 19 | 012-016-25-2-3 | Кольцо | |
| 20 | 3-50х30-6 | Манжета | |
| 22 | М6-8gх20.58.019 | Болт | |
| 23 | В1М6-8gх12.58.019 | Винт | |
| 24 | 6.65Г.019 | Шайба | |
| 26 | 018-022-25-2-3 | Кольцо | |
| 28 | 2-10-К1/4 | Угольник | |
| 31 | Loctite620 | Герметик | |
| 31 | Loctite638 | Герметик | |
| 31 | 545 | Герметик |