В товарах В каталоге запчастей

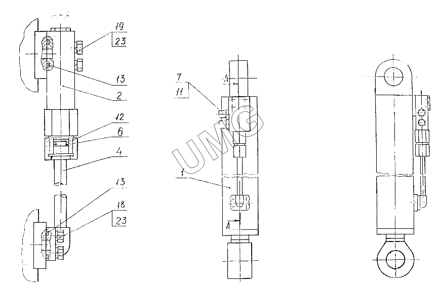
ЕК-12 (2013). 312-04-71.00.300 Гидроцилиндр опоры отвала правый (для всех модификаций)

zoom-in zoom-out enlarge shrink circle-right circle-left file-text2 info cart
1
1
2
4
6
7
11
12
13
13
18
19
23
23
Позиция на иллюстрации Заводской номер детали Название детали
1 13.20.69.000 Гидроцилиндр
1 13.20.69.000-11 Гидроцилиндр
2 13.71.80.680-10 Гидрозамок двухсторонний
4 312-04-71.00.310 Трубопровод
6 13.71.80.642 Кольцо защитное
7 ЭО-3323.20.83.012 Штуцер
11 018-022-25-2-2 Кольцо
12 020-025-30-2-2 Кольцо
13 038-044-36-2-2 Кольцо
18 М12-8gх35.88.019 Болт
19 М12-8gх60.88.019 Болт
23 12.65Г.019 Шайба
АвтоКаталог-онлайн предоставлен Компанией АвтоСофт