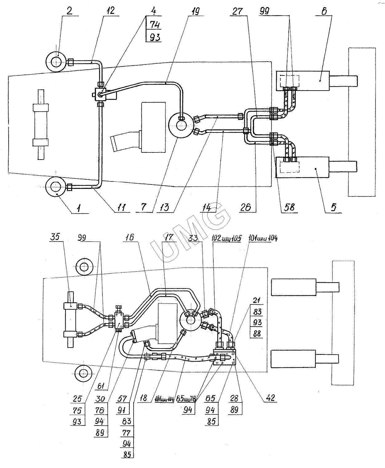
ЕК-12 (2013). 312-24-72.00.000 Гидрооборудование на ходовой раме для модификаций с опорой-отвалом и стабилизаторами (гидравлика Бош-Рексрот)
1
2
4
5
6
7
11
12
13
14
16
17
18
19
25
26
27
35
57
58
61
63
65
65
74
75
77
85
85
89
89
91
93
93
93
94
94
94
94
| Позиция на иллюстрации | Заводской номер детали | Название детали | |
|---|---|---|---|
| 1 | 312-04-71.01.000 | Стабилизатор правый | |
| 2 | 312-04-71.02.000 | Стабилизатор левый | |
| 4 | 312-04-71.00.200 | Клапан пневмогидравлический | |
| 5 | 312-04-71.00.300 | Гидроцилиндр отвала правый | |
| 6 | 312-04-71.00.400 | Гидроцилиндр отвала левый | |
| 7 | 312-04-71.00.500 | Коллектор | |
| 11 | 312-04-71.00.710 | Трубопровод | |
| 12 | 312-04-71.00.720 | Трубопровод | |
| 13 | 312-04-71.00.730 | Трубопровод | |
| 14 | 312-04-50.72.470 | Трубопровод | |
| 16 | 312-04-71.00.760 | Трубопровод | |
| 17 | 312-04-71.00.770 | Трубопровод | |
| 18 | 312-04-71.00.780 | Трубопровод | |
| 19 | 312-04-71.00.790 | Трубопровод | |
| 23 | 312-10-50.72.010 | Трубопровод | |
| 25 | 314-02-71.00.450 | Кран буксировочный | |
| 26 | 314-02-71.00.600 | Трубопровод | |
| 27 | 314-02-71.00.610 | Трубопровод | |
| 35 | 080-50-02.01.000 | Гидроцилиндр поворота колёс | |
| 50 | 312-24-50.72.001 | Болт | |
| 57 | ЭО-3322А.23.02.001 | Штуцер | |
| 58 | ЭО-3322Д.23.02.003 | Гайка | |
| 61 | ЭО-3323.20.83.071-20 | Заглушка | |
| 63 | ЭО-3323.41.08.006 | Скоба | |
| 65 | 314-02-71.00.001 | Шпилька | |
| 74 | М10-8gx20.58.019 | Болт | |
| 75 | М10-8gx35.58.019 | Болт | |
| 77 | М12-8gx50.58.019 | Болт | |
| 79 | М14-8gx30.88.019 | Болт | |
| 85 | М12-7H.5.019 | Гайка | |
| 89 | 038-044-36-2-2 | Кольцо | |
| 91 | 18М3 | Прокладка | |
| 93 | 10.65Г.019 | Шайба | |
| 94 | 12.65Г.019 | Шайба | |
| 95 | 14.65Г.019 | Шайба | |
| 103 | РВД20.129.1250 | Рукав | |
| 106 | РВД25.140.1250 | Рукав |