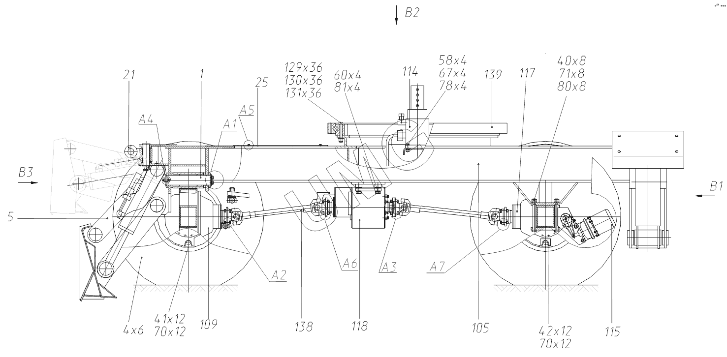
ЕК-18-90. 312-30-50.00.000-18 Ход пневмоколесный
1
4
5
21
25
40
41
42
58
60
67
70
70
71
78
80
81
105
109
114
115
117
118
129
130
131
138
139
| Позиция на иллюстрации | Заводской номер детали | Название детали | |
|---|---|---|---|
| 1 | 312-04-50.00.050 | Палец | |
| 4 | 312-04-50.00.100 | Колесо с шиной | |
| 5 | 312-04-50.70.000 | Установка отвала | |
| 7 | 312-04-50.80.000 | Ящик-подножка в сборе | |
| 8 | 312-04-50.85.100 | Подножка правая | |
| 11 | 314-02-70.00.040 | Упор стопора поворота | |
| 13 | 314-02-70.00.060 | Палец | |
| 14 | 314-02-70.00.070 | Палец | |
| 17 | 314-02-70.00.300 | Опора откидная | |
| 18 | 314-02-70.00.300-01 | Опора откидная | |
| 21 | 314-02-70.40.000 | Управление поворотом колес | |
| 24 | ЭО-3322А.70.00.300 | Кольцо проставочное | |
| 25 | 312-04-50.00.001 | Лист накрывающий | |
| 29 | 314-02-70.00.003 | Шайба | |
| 30 | 314-02-70.00.005 | Стопор | |
| 32 | Э302-4-0900-02 | Шайба торцовая | |
| 34 | ЭО-3322А.02.00.010 | Шайба упорная | |
| 37 | ЭО-3322А.60.00.001 | Защелка | |
| 38 | ЭО-3322А.60.00.003 | Втулка | |
| 39 | ЭО-3322А.60.00.009 | Палец | |
| 40 | ЭО-3322А.70.00.001 | Болт | |
| 41 | ЭО-3322А.70.00.006 | Прижим | |
| 42 | ЭО-3322А.70.00.007 | Прижим | |
| 43 | ЭО-3322Б.70.60.002 | Болт | |
| 44 | ЭО-3322А.70.60.003 | Болт | |
| 45 | ЭО-3322А.70.60.004 | Гайка | |
| 46 | ЭО-3323А.71.00.004 | Втулка | |
| 55 | М10-8gх20.58.019 | Болт | |
| 57 | М16-8gх30.58.019 | Болт | |
| 58 | М16-8gх50.58.019 | Болт | |
| 60 | М24-8gх90.58.019 | Болт | |
| 65 | М10-7Н.5.019 | Гайка | |
| 67 | М16-7Н.5.019 | Гайка | |
| 70 | М20-7Н.10.40Х.019 | Гайка | |
| 71 | М22х1,5-7Н.5.019 | Гайка | |
| 75 | 10.65Г.019 | Шайба | |
| 77 | 14.65Г.019 | Шайба | |
| 78 | 16.65Г.019 | Шайба | |
| 80 | 22.65Г.019 | Шайба | |
| 81 | 24.65Г.019 | Шайба | |
| 85 | 10.01.19 | Шайба | |
| 87 | 16.01.19 | Шайба | |
| 90 | ВМ16-8gх40.58.019 | Винт | |
| 92 | 1.3.01 | Масленка | |
| 93 | В105 | Кольцо | |
| 105 | 312-04-50.10.000-18 | Рама ходовая | |
| 109 | ЕК-18.20.30.000 | Мост приводной управляемый | |
| 114 | 314-30-72.00.000 | Гидрооборудование | |
| 115 | 314-02-82.00.000-10 | Пневмоуправление на ходовой раме | |
| 117 | ЕК-18.20.90.000 | Мост приводной неуправляемый | |
| 118 | 318-30-72.51.000-10 | Коробка перемены передач | |
| 119 | 318-00-43.50.100 | Дышло | |
| 120 | Э302-4-0200-04 | Гайка | |
| 121 | Э302Б-3-1000-10А | Палец | |
| 122 | 312-26-50.00.002 | Шайба дистанционная | |
| 126 | 314-02-70.00.007-10 | Проставка | |
| 127 | 314-02-70.00.008 | Болт | |
| 129 | ЭО-3322А.60.00.005 | Болт | |
| 130 | М20-7Н.10.40Х.019 | Гайка | |
| 131 | 20.65Г.019 | Шайба | |
| 137 | 8х80.019 | Шплинт | |
| 138 | 695Н-2201010-30 | Вал карданный | |
| 139 | ОПРУ-1400.24.12.00 | Опора поворотная роликовая |