В товарах В каталоге запчастей

ЭОВ-3521М-1. ЭО-3323А.07.21.010 Гидрораспределитель

zoom-in zoom-out enlarge shrink circle-right circle-left file-text2 info cart
1
2
2
3
4
5
6
7
8
9
10
11
12
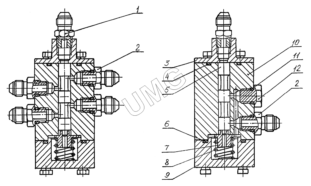
Позиция на иллюстрации Заводской номер детали Название детали
1 ЭО-3322А.24.00.005 Штуцер
2 520.20.20.025 Штуцер
3 ЭО-3323.07.10.011 Крышка
4 030-035-30-1-2 Кольцо
5 ЭО-3323А.07.21.012 Золотник
6 038-044-36-2-3 Кольцо
7 ЭО-3323.07.10.014 Тарелка
8 ЭО-3323.07.10.015-10 Пружина
9 ЭО-3323А.07.21.013 Крышка
10 ЭО-3323А.07.21.011 Корпус
11 012-016-25-2-2 Кольцо
12 ЭО-3322А.24.01.014 Заглушка
АвтоКаталог-онлайн предоставлен Компанией АвтоСофт