В товарах В каталоге запчастей

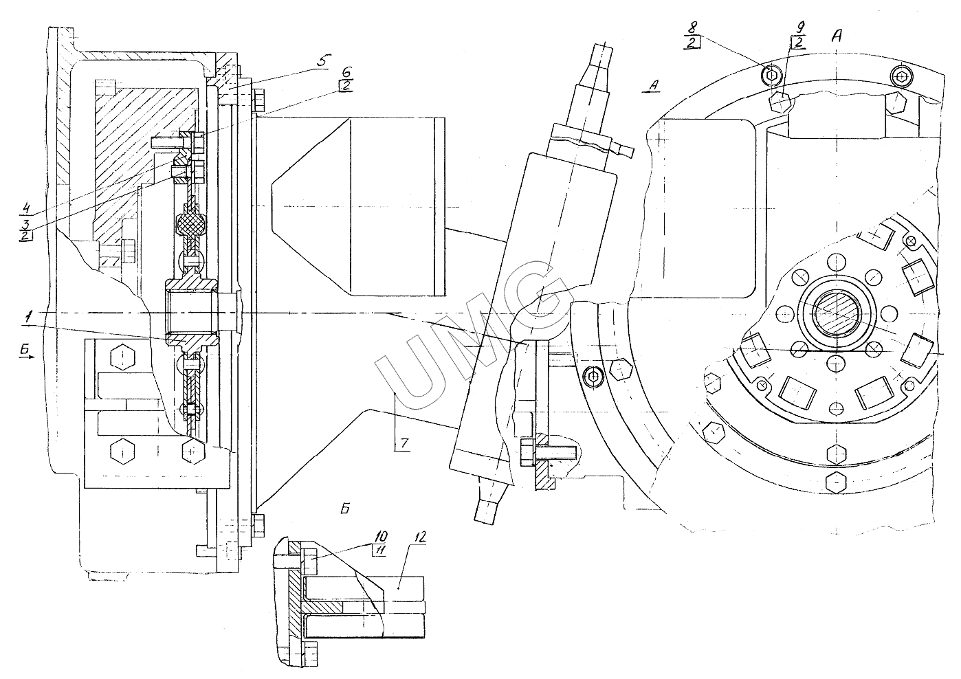
ЕК-18-20. 312-40-04.01.000-20 Установка насоса

zoom-in zoom-out enlarge shrink circle-right circle-left file-text2 info cart
1
2
2
2
2
3
4
5
6
7
8
9
10
11
12
Позиция на иллюстрации Заводской номер детали Название детали
1 308-20-03.91.010 Диск демпферный
2 6402.10.65Г.016 Шайба
3 308-20-03.91.004 Болт
4 308-20-03.91.002 Кольцо
5 312-40-04.01.001 Фланец
6 308-20-03.91.003 Болт
7 A8V055LAOH2/61R1-NZG05K010+ZP11 Насос
8 11738.М10-6gх25.58.016 Винт
9 7798.ВМ10-6gх35.58.016 Болт
10 7798.ВМ12-6gх35.58.016 Болт
11 6402.12.65Г.016 Шайба
12 312-40-04.01.010 Опора задняя
АвтоКаталог-онлайн предоставлен Компанией АвтоСофт