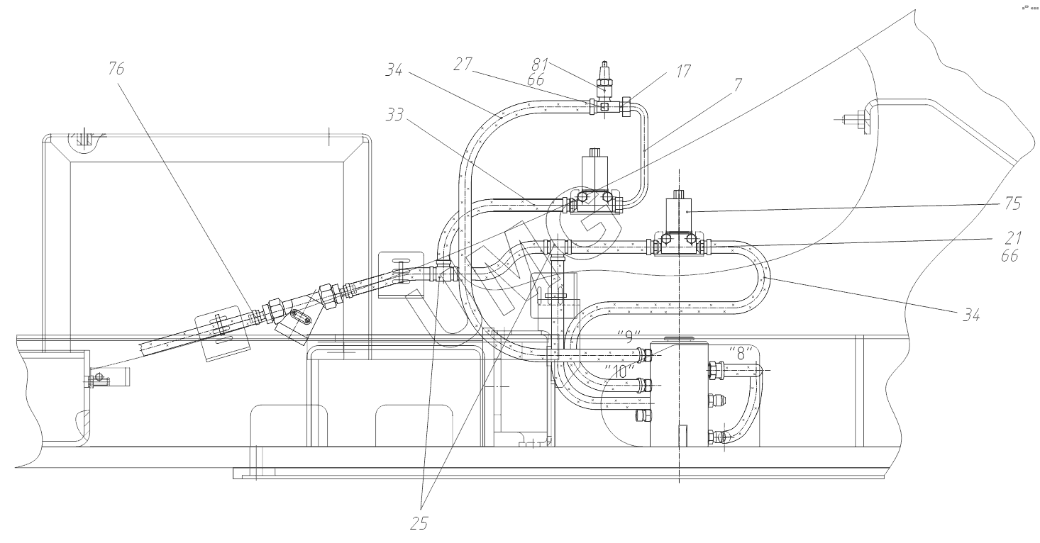
TVEX-180W. 314238100000 20 Пневмоуправление на поворотной платформе
7
17
21
25
27
33
34
34
66
66
75
76
81
| Позиция на иллюстрации | Заводской номер детали | Название детали | |
|---|---|---|---|
| 3 | 00013019111000 | Трубопровод | |
| 4 | 00013019125000 | Кран отбора воздуха | |
| 7 | 31404811004000 | Трубопровод | |
| 8 | 31402811001020 | Трубопровод | |
| 9 | 32020810001000 | Трубопровод | |
| 10 | 31423810012000 | Шланг для накачивания шин | |
| 12 | 00001161500300 | Штуцер | |
| 13 | 00001122000600 | Скоба | |
| 14 | 00007092000900 | Угольник | |
| 15 | 00007094000400 | Пробка | |
| 16 | 00007230300600 | Тройник | |
| 17 | 00009110701500 | Штуцер | |
| 18 | 31204812000500 | Штуцер | |
| 21 | 31421810000200 | Ниппель | |
| 22 | 31423810000400 | Пробка | |
| 23 | 31423810000100 | Штуцер | |
| 24 | 31470030002800 | Ниппель | |
| 25 | 32020810001800 | Тройник | |
| 26 | 32020810002100 | Тройник | |
| 27 | 32020810002200 | Тройник | |
| 28 | 31423810000200 | Рукав | |
| 31 | 31421810001400 | Рукав | |
| 32 | 32020810003300 | Рукав | |
| 33 | 32020810003400 | Рукав | |
| 34 | 32020810003500 | Рукав | |
| 35 | 32020810003600 | Рукав | |
| 36 | 32020810003700 | Рукав | |
| 40 | 31423810000300 | Рукав | |
| 41 | 31421810004500 | Рукав | |
| 50 | М8-6gх30.58.016 | Болт | |
| 52 | М8-6gх50.58.016 | Болт | |
| 53 | М8-6gх75.58.016 | Болт | |
| 54 | М10-6gх20.58.016 | Болт | |
| 56 | М8-7Н.58.016 | Гайка | |
| 60 | 8.65Г.016 | Шайба | |
| 61 | 10.65Г.016 | Шайба | |
| 63 | С8.01.08кп.019 | Шайба | |
| 64 | С10.01.08кп.016 | Шайба | |
| 66 | 00000233581200 | Прокладка | |
| 67 | 00000233582200 | Прокладка | |
| 75 | 00010152161101 | Клапан электромагнитный | |
| 76 | 00092382001701 | Хомут червячный | |
| 77 | 00092382000601 | Хомут червячный | |
| 78 | 00092382002601 | Хомут | |
| 79 | 100-3536010 | Предохранитель от замерзания | |
| 80 | 00091351602001 | Фильтр магистральный | |
| 81 | 00092118383001 | Датчик аварийного давления воздуха | |
| 82 | 00092118382901 | Датчик | |
| 83 | 00092200000701 | Кран сливной | |
| 84 | 00092100012501 | Датчик | |
| 85 | 00097230000101 | Регулятор давления | |
| 87 | 5412010241 | Спирт этиловый |