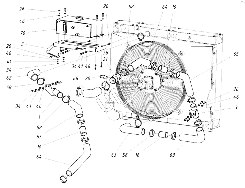
ТХ-210. Патрубки водяного радиатора и расширительный бачок
1
2
3
16
16
16
20
21
26
26
26
26
34
34
34
41
41
41
46
46
46
46
46
58
58
58
58
58
62
63
63
64
64
65
65
66
76
| Позиция на иллюстрации | Заводской номер детали | Название детали | |
|---|---|---|---|
| 1 | 21212000207000 | Труба в сборе | |
| 2 | 21212000210000 | Кронштейн в сборе | |
| 3 | 21212000215000 | Труба в сборе | |
| 16 | 20212020000700 | Труба | |
| 20 | 42200876000100 | Ниппель | |
| 21 | 20212100200300 | Переxодник | |
| 26 | 00002640012501 | Болт M8-6gx25.88.016 | |
| 34 | 00002641060801 | Гайка М8-6Н.5.016 | |
| 41 | 00002644020501 | Шайба 8.65Г.016 | |
| 46 | 00002644060801 | Шайба С8.01.08кп.016 | |
| 58 | 00092382030901 | Хомут | |
| 62 | 00023040406001 | Патрубок | |
| 63 | 00023040405901 | Патрубок | |
| 64 | 00023040405801 | Патрубок | |
| 65 | 00023040405701 | Патрубок | |
| 66 | 00023040406901 | Патрубок | |
| 76 | 00093260344801 | Бачок расширительный |