ТХ-210. 202020100000 00 Кабина в сборе
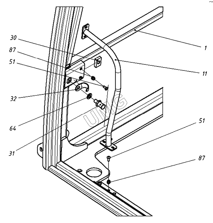
1
11
30
31
32
51
51
64
87
87
| Позиция на иллюстрации | Заводской номер детали | Название детали | |
|---|---|---|---|
| 1 | 20202011000000 | Корпус кабины | |
| 2 | 20202012000000 | Дверь в сборе | |
| 3 | 20202013000000 | Установка передней рамки | |
| 4 | 20202014000000 | Дверца задняя в сборе | |
| 5 | 20202015000000 | Форточка задняя | |
| 10 | 20202010010000 | Поручень наружный | |
| 11 | 20202010020000 | Поручень внутренний | |
| 12 | 20202010030000 | Каркас фильтра | |
| 13 | 20202010040000 | Решетка задняя | |
| 14 | 20202010050000 | Установка фиксатора двери | |
| 15 | 20202010060000 | Установка нижнего стекла | |
| 16 | 20202010070000 | Планка резьбовая | |
| 23 | 20202010000100 | Стекло правое | |
| 24 | 20202010000200 | Стекло крыши | |
| 25 | 20202010000300 | Стекло левое | |
| 26 | 20202010000400 | Кронштейн щетки | |
| 27 | 20202010000500 | Люк задний | |
| 28 | 20202010000600 | Штырь | |
| 29 | 20202010000700 | Планка | |
| 30 | 20202010000800 | Планка резьбовая | |
| 31 | 00029410030101 | Штырь | |
| 32 | 00029410030201 | Скоба | |
| 46 | 00002640023001 | Болт М10-6gх30.58.016 | |
| 50 | 00002643010501 | Винт М8Х25 | |
| 51 | 00002643010001 | Винт М6Х16 | |
| 53 | 00002642031101 | Винт М6х12.48.016 | |
| 54 | 00002642018801 | Винт М8-8gх25.48.016 | |
| 55 | 00002641060801 | Гайка М8-6Н.5.016 | |
| 56 | 00002641061001 | Гайка M10-6H.5.016 | |
| 59 | 00002644020501 | Шайба 8.65Г.016 | |
| 60 | 00002644020601 | Шайба 10.65Г.016 | |
| 62 | 00002644060801 | Шайба С8.01.08кп.016 | |
| 63 | 00002644061001 | Шайба плоская | |
| 64 | 00002644061201 | Шайба 12.01.08кп.019 | |
| 67 | 00091820405501 | Шторка противосолнечная | |
| 68 | 00002648251601 | Скоба резьбовая | |
| 69 | 00010908012801 | Втулка предохранительная | |
| 70 | 00091340280101 | Буфер | |
| 72 | 00091820200501 | Петля | |
| 73 | 00091820200401 | Ось петли | |
| 74 | 00091820200301 | Масленка петли | |
| 75 | 00091820207101 | Колпачок масленки | |
| 76 | 00002643003101 | Винт | |
| 78 | 0643090061 | Уплотнитель | |
| 79 | 0643090061 | Уплотнитель | |
| 80 | 0643090061 | Уплотнитель | |
| 81 | 0643090061 | Уплотнитель | |
| 83 | 0643090081 | Уплотнитель | |
| 84 | 0643090081 | Уплотнитель | |
| 85 | 00091810106401 | Зеркало заднего вида | |
| 86 | 00002641023101 | Гайка заклепочная М6 шестигранная | |
| 87 | 00002641023201 | Гайка заклепочная М6 шестигранная | |
| 88 | 00002641023401 | Гайка заклепочная М6 круглая | |
| 90 | 0644502011 | Лента амортизационная | |
| 91 | 0644502011 | Лента амортизационная | |
| 92 | 00092400008901 | Маяк проблесковый | |
| 93 | 00092400009001 | Кронштейн маяка |