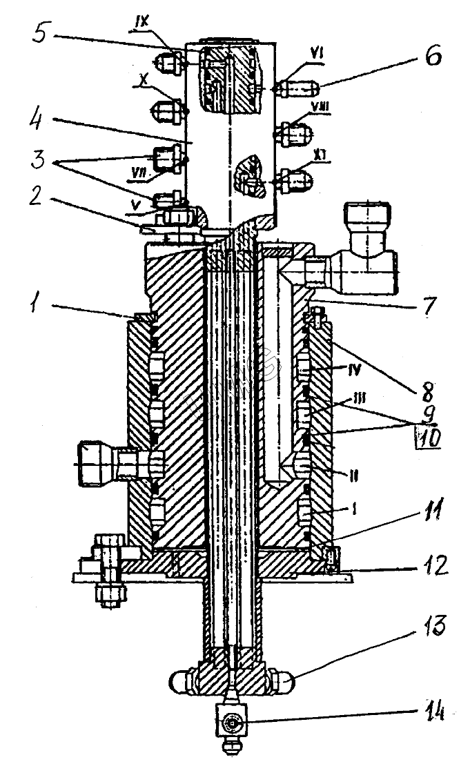
ЕК-14-20. 314-02-71.00.850 Коллектор центральный
1
2
3
4
5
6
7
8
9
10
11
12
13
14
| Позиция на иллюстрации | Заводской номер детали | Название детали | |
|---|---|---|---|
| 1 | ЭО-3322.55.01.007 | Полукольцо | |
| 2 | ЭО-3323.20.85.300 | Кронштейн | |
| 3 | ЭО-3322А.23.03.004 | Штуцер | |
| 4 | ЭО-3323.20.85.003 | Корпус | |
| 5 | 9833.037-045-46-2-3 | Кольцо | |
| 6 | ЭО-3323.20.85.002 | Штуцер | |
| 7 | 313-00-73.85.200 | Колонка сварная | |
| 8 | 313-00-73.85.100 | Гильза сварная | |
| 9 | Э5015.02.1900-013 | Шайба защитная | |
| 10 | 9833.130-140-58-2-3 | Кольцо | |
| 11 | Э5015.02.1900-008 | Шайба | |
| 12 | ЭО-3323.20.85.400 | Цапфа | |
| 13 | ЭО-3322А.11.00.004 | Штуцер | |
| 14 | ЭО-3322А.09.60.003 | Тройник |