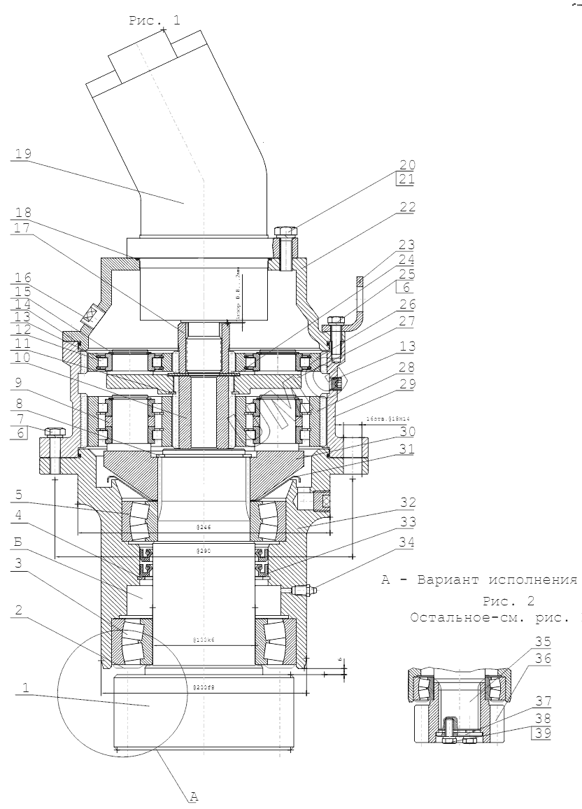
ЕК-14-20. ЕК-14.07.00.000-02 Механизм поворота
1
2
3
4
5
6
6
7
8
9
10
11
12
13
13
14
15
16
17
18
19
19
19
20
21
22
23
24
25
26
27
28
29
30
31
32
33
34
35
36
37
38
39
| Позиция на иллюстрации | Заводской номер детали | Название детали | |
|---|---|---|---|
| 1 | ЕК-14.01.00.006-01 | Вал-шестерня | |
| 2 | ЕК-14.07.00.015 | Кольцо уплотнительное | |
| 3 | 5721.3520 | Подшипник | |
| 4 | 13941.В-125 | Кольцо | |
| 5 | 5721.3518 | Подшипник | |
| 6 | 6402.10.65Г.019 | Шайба | |
| 7 | 7798.М10-8gх35.58.019 | Болт | |
| 8 | 13940.В-80 | Кольцо | |
| 9 | КС-3372.28.414 | Кольцо | |
| 10 | ЕК-14.07.00.008 | Шестерня солнечная | |
| 11 | 13940.В-58 | Кольцо | |
| 12 | 5377.502207 | Подшипник | |
| 13 | 18.31.06.005 | Пробка | |
| 14 | 9833.240-245-36-1-3 | Кольцо | |
| 15 | ЭО-33225.68.00.005 | Кольцо стопорное | |
| 16 | ЭО-3323.20.30.049 | Пробка | |
| 17 | ЕК-14.07.00.007 | Шестерня солнечная | |
| 18 | 9833.125-130-36-1-3 | Кольцо | |
| 19 | 310.3.56 | Гидромотор | |
| 19 | 410.56 | Гидромотор | |
| 20 | 7798.М12-6gх35.88.019 | Болт | |
| 21 | 6402.12.65Г.019 | Шайба | |
| 22 | ЕК-14.07.00.013 | Крышка | |
| 23 | ЕК-14.07.00.016 | Проушина | |
| 24 | ЕК-14.07.00.011 | Шайба опорная | |
| 25 | 7805.М10-8gх25.58.019 | Болт | |
| 26 | ЕК-14.07.00.009 | Сателлит | |
| 27 | ЕК-14.07.00.004 | Водило первой ступени | |
| 28 | ЕК-14.07.00.010 | Сателлит | |
| 29 | ЕК-14.07.00.001 | Корпус | |
| 30 | ЕК-14.07.00.005 | Водило второй ступени | |
| 31 | ЕК-14.07.00.017 | Кольцо | |
| 32 | ЕК-14.07.00.002 | Корпус | |
| 33 | 8752.1,2-100х125-2 | Манжета | |
| 34 | 19853.1.3.01 | Масленка | |
| 35 | ЕК-14.07.00.061 | Вал | |
| 36 | ЕК-17.07.00.062-03 | Шестерня | |
| 37 | Э-3025-4-0900-02 | Шайба | |
| 38 | ЭО-3322А.25.01.009 | Планка | |
| 39 | 7805.М16-8gх40.58.019 | Болт |