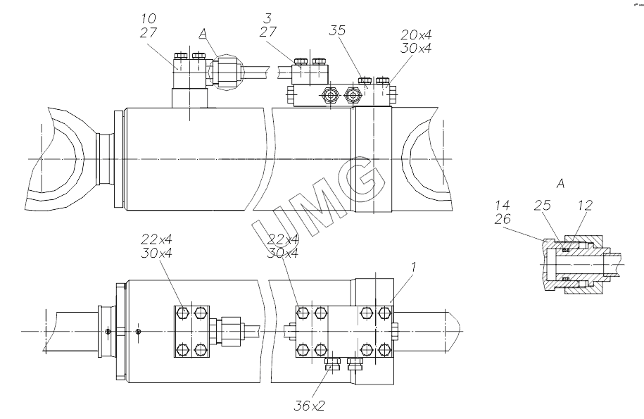
TVEX-180i. 002210105400 00 Гидроцилиндр выносных опор левый
1
3
10
12
14
20
22
22
25
26
27
27
30
30
30
35
36
| Позиция на иллюстрации | Заводской номер детали | Название детали | |
|---|---|---|---|
| 1 | 00013718200017 | Гидроцилиндр | |
| 3 | 00221010535000 | Трубопровод | |
| 10 | 00221010210100 | Фланец | |
| 12 | 00013718064200 | Кольцо защитное | |
| 14 | 00013718067200 | Штуцер поджимной | |
| 20 | М12-8gх50.88.019 | Болт | |
| 22 | М12-8gх60.88.019 | Болт | |
| 25 | 020-025-30-2-3 | Кольцо | |
| 26 | 024-028-25-2-3 | Кольцо | |
| 27 | 038-044-36-2-3 | Кольцо | |
| 30 | 12.65Г.016 | Шайба | |
| 35 | 00010000543101 | Гидрозамок двухсторонний | |
| 36 | 00002648202201 | Адаптер | |
| 40 | 0511220371 | Герметик |