Товары
Каталог запчастей
Личный кабинет
Авторизация
Портал для заказа запасных частей
В товарах
В каталоге запчастей
Внимание!!! Сайт только для тестирования.
Каталоги запчастей к технике UMG
ТВЭКС
ВП-05
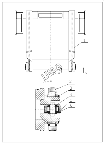
005-04-33.03.000 Рама выдвижная
ВП-05. 005-04-33.03.000 Рама выдвижная
zoom-in
zoom-out
enlarge
shrink
circle-right
circle-left
file-text2
info
cart
1
2
3
4
5
6
Позиция на иллюстрации
Заводской номер детали
Название детали
1
005-04-33.03.100
Металлоконструкция рамы выдвижной
2
962715ХС17
Роликоподшипник
3
005-01-33.03.002
Кольцо
4
005-01-33.03.001
Ось
5
005-01-33.02.200
Подшипник
6
10450.16.01.05
Шайба
Дополнительная информация
×
Название:
Номер:
Примечание:
АвтоКаталог-онлайн предоставлен
Компанией АвтоСофт