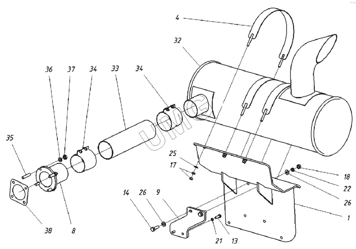
WХ-200. 202121004000 00 Установка глушителя
1
3
8
9
13
14
17
18
21
22
25
26
26
32
33
34
34
35
36
37
38
| Позиция на иллюстрации | Заводской номер детали | Название детали | |
|---|---|---|---|
| 1 | 20212100410000 | Кронштейн | |
| 3 | 31422040850000 | Хомут | |
| 8 | 20212100400100 | Патрубок | |
| 9 | 20212100400200 | Кронштейн | |
| 13 | 2640012501 | Болт М8-6gх25.88.016 | |
| 14 | 2640023201 | Болт M10-6gx35.88.016 | |
| 17 | 2641060801 | Гайка М8-6Н.5.016 | |
| 18 | 2641061001 | Гайка М10-6Н.5.016 | |
| 21 | 2644020501 | Шайба 8.65Г.016 | |
| 22 | 2644020601 | Шайба 10.65Г.016 | |
| 25 | 2644060801 | Шайба плоская | |
| 26 | 2644061001 | Шайба плоская | |
| 32 | 93260321401 | Глушитель | |
| 33 | 93260321601 | Гофра | |
| 34 | 93260321501 | Хомут | |
| 35 | 00093110074101 | Шпилька M10 | |
| 36 | 93110074301 | Шайба 10,5 | |
| 37 | 00093110074201 | Гайка M10x1,5 | |
| 38 | 00093110073001 | Прокладка выпускного фланца турбокомпрессора |