Товары
Каталог запчастей
Личный кабинет
Авторизация
Портал для заказа запасных частей
В товарах
В каталоге запчастей
Внимание!!! Сайт только для тестирования.
Каталоги запчастей к технике UMG
ТВЭКС
WХ-200
202020100600 00 Установка нижнего стекла
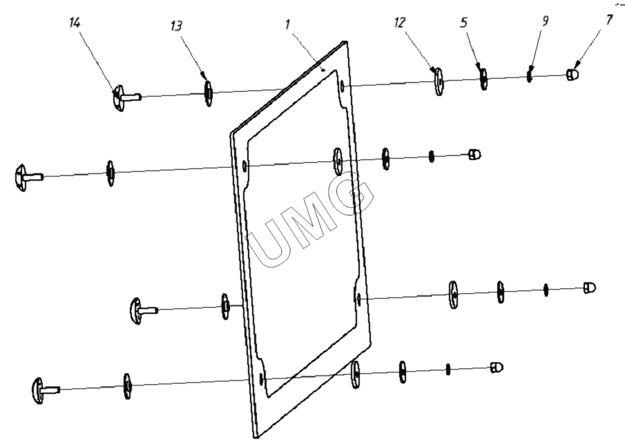
WХ-200. 202020100600 00 Установка нижнего стекла
zoom-in
zoom-out
enlarge
shrink
circle-right
circle-left
file-text2
info
cart
1
5
7
9
12
13
14
Позиция на иллюстрации
Заводской номер детали
Название детали
1
20202010060100
Стекло нижнее
5
23040401800
Шайба
7
2640310801
Гайка М8-6Н.5.016
9
2644020501
Шайба 8.65Г.016
12
4040010101
Шайба резиновая
13
4040010201
Шайба резиновая
14
2643015101
Винт специальный
Дополнительная информация
×
Название:
Номер:
Примечание:
АвтоКаталог-онлайн предоставлен
Компанией АвтоСофт