В товарах В каталоге запчастей

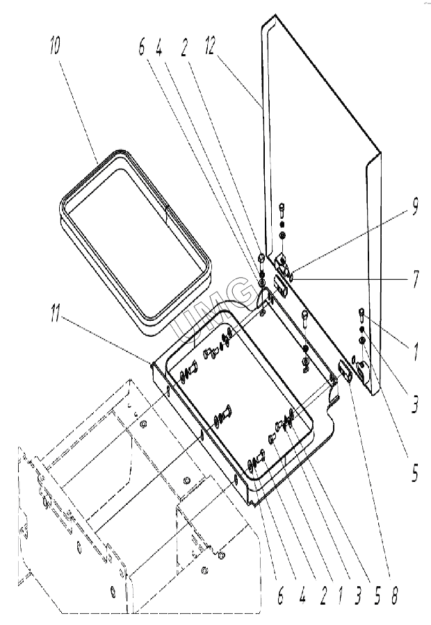
ТХ-210. 202190000000 00 Установка ступени

zoom-in zoom-out enlarge shrink circle-right circle-left file-text2 info cart
1
1
2
2
3
3
4
4
5
5
6
6
7
8
9
10
11
12
Позиция на иллюстрации Заводской номер детали Название детали
1 00002640011001 Болт М8х16.58.019
2 2640022101 Болт М10-6gх20.58.016
3 2644020501 Шайба 8.65Г.016
4 2644020601 Шайба 10.65Г.016
5 00002644060801 Шайба С8.01.08кп.016
6 2644061001 Шайба плоская
7 6421002501 Кольцо 010-013-19-2-3
8 20219000000100 Петля
9 20219000000200 Петля
10 20219000000800 Уплотнитель резиновый армированный металлом
11 20219010000000 Основание ступени
12 20219020000000 Ступень в сборе
АвтоКаталог-онлайн предоставлен Компанией АвтоСофт