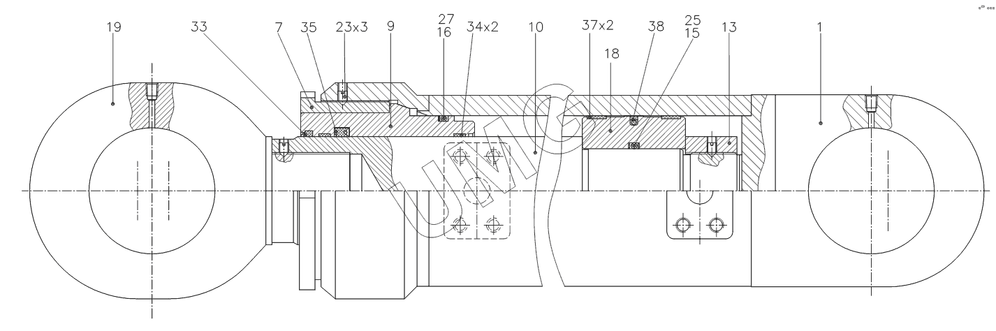
ЕК-14-90. 125-90-11.02.000 Гидроцилиндр рукояти
1
7
9
10
13
15
16
18
19
23
25
27
33
34
35
37
38
| Позиция на иллюстрации | Заводской номер детали | Название детали | |
|---|---|---|---|
| Loctite262 | Loctite262 | Герметик | |
| 1 | 125-90-11.02.100 | Цилиндр | |
| 7 | 318-00-21.92.002-23 | Гайка наружная | |
| 9 | 318-00-21.92.004-23 | Букса | |
| 10 | 125-90-11.01.005 | Шток | |
| 13 | ЭО-3323А.71.82.020 | Гайка | |
| 15 | ЭО-3323А.71.82.012 | Кольцо защитное | |
| 16 | ЭО-3323А.71.82.013 | Кольцо защитное | |
| 18 | 125-90-10.01.006-12 | Поршень | |
| 19 | 34.64.00.901 | Проушина | |
| 23 | М8-6gx12.14Н.016 | Винт | |
| 25 | 070-080-50-2-3 | Кольцо ГОСТ 9833-73 | |
| 27 | 115-125-58-2-3 | Кольцо | |
| 33 | 38/6618800 | Грязесъемник | |
| 34 | Т50690х95х9.7 | Направляющая штока | |
| 35 | 621/4317810 | Манжета | |
| 37 | Е20-120-125 | Кольцо | |
| 38 | Е15М-125-5 | Уплотнение |