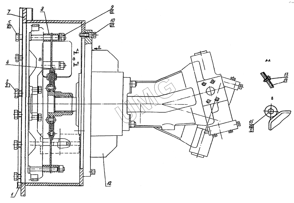
ЭОВ-3521. Установка насоса 333.3.55.100.220 (гидравлика ПСМ)
1
2
3
4
5
6
6
6
7
8
9
10
11
12
13
14
15
16
| Позиция на иллюстрации | Заводской номер детали | Название детали | |
|---|---|---|---|
| 1 | ЭО-3323.04.03.003 | Штифт | |
| 2 | М16-8gх30.58.016 | Болт | |
| 3 | 16.65Г.016 | Шайба | |
| 4 | 314-02-03.09.100 | Диск демпферный | |
| 5 | М12-6gх30.58.016 | Болт | |
| 6 | 12.65Г.016 | Шайба | |
| 7 | 005-01-03.01.100 | Корпус | |
| 8 | 314-02-03.09.001 | Втулка | |
| 9 | М12х1,25-6H.5.016 | Гайка | |
| 10 | М10-8gх35.58.016 | Болт | |
| 11 | 10.65Г.016 | Шайба | |
| 12 | 333.3.55.100.220 | Насос | |
| 13 | М6-6gх16.58.016 | Болт | |
| 14 | 005-01-03.01.005 | Крышка | |
| 15 | М12-6gх40.58.016 | Болт | |
| 16 | М12-6H.5.016 | Гайка |