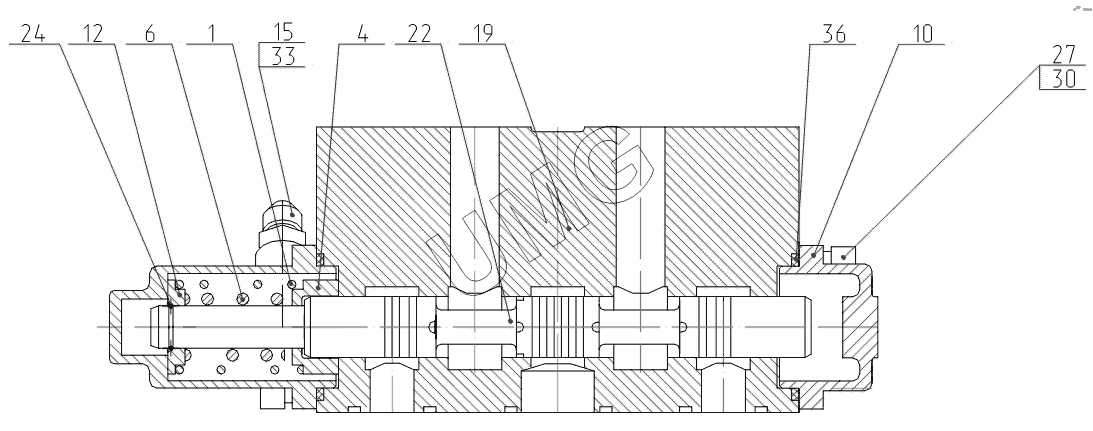
5846ТМ (ЕА17). Секция рабочая (опора-отвал)
1
4
6
10
12
15
19
22
24
27
30
33
36
| Позиция на иллюстрации | Заводской номер детали | Название детали | |
|---|---|---|---|
| 1 | 520.20.20.056 | Пружина наружная | |
| 4 | 520.20.20.003-01 | Упор пружины | |
| 6 | 520.20.20.057 | Пружина внутренняя | |
| 8 | 520.20.20.017-60 | Крышка | |
| 10 | 520.20.20.018-40 | Крышка | |
| 12 | 520.20.20.021-12 | Упор пружины | |
| 15 | 520.20.20.025 | Штуцер | |
| 19 | 520.20.20.101 | Корпус | |
| 22 | 520.20.50.002 | Золотник | |
| 24 | 520.20.20.022-10 | Кольцо запорное | |
| 27 | М10-6gx25.56.016 | Винт | |
| 30 | 10.65Г.016 | Шайба | |
| 33 | 012-016-25-2-3 | Кольцо | |
| 36 | 055-060-30-2-3 | Кольцо |