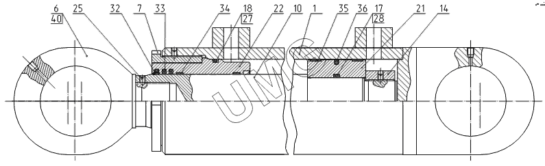
E185W (ЕК-18). Гидроцилиндр стрелы (с уплотнениями Элконт)
1
1
6
7
10
14
17
18
21
22
25
27
28
32
33
34
35
36
40
| Позиция на иллюстрации | Заводской номер детали | Название детали | |
|---|---|---|---|
| 1 | 34.64.00.870 | Цилиндр | |
| 1 | 34.64.00.850 | Цилиндр | |
| 6 | ЭО-3323А.71.82.001-11 | Проушина | |
| 7 | ЭО-3323А.71.82.002-11 | Гайка наружная | |
| 10 | 34.64.01.805-10 | Шток | |
| 14 | ЭО-3323А.71.82.020 | Гайка | |
| 17 | ЭО-3323А.71.82.012 | Кольцо защитное | |
| 18 | ЭО-3323А.71.82.013 | Кольцо защитное | |
| 21 | ЭО-3323А.71.82.006-12 | Поршень | |
| 22 | ЭО-3323А.71.82.004-12 | Букса | |
| 25 | В.М8-6gх12.14H.016 | Винт | |
| 27 | 115-125-58-2-2 | Кольцо | |
| 28 | 070-080-58-2-2 | Кольцо | |
| 32 | Е50-А-080-5 | Грязесъемник | |
| 33 | Е06-080-5 | Уплотнение | |
| 34 | Е20-080-085 | Кольцо | |
| 35 | Е20-120-125 | Кольцо | |
| 36 | Е15М-125-5 | Уплотнение | |
| 40 | Анагерм103 | Состав |