В товарах В каталоге запчастей

E185W (ЕК-18). Клапан подпиточный

zoom-in zoom-out enlarge shrink circle-right circle-left file-text2 info cart
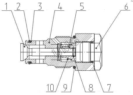
1
2
3
4
5
6
7
8
9
10
Позиция на иллюстрации Заводской номер детали Название детали
1 520.20.01.001 Клапан
2 020-024-25-2-3 Кольцо
3 320.12.00.011 Кольцо защитное
4 520.20.01.002-11 Втулка
5 520.20.01.004-11 Упор
6 ЭО-3323.20.83.071 Заглушка
7 018-022-25-2-3 Кольцо
8 520.20.01.005 Кольцо запорное
9 030-034-25-2-3 Кольцо
10 320.12.00.009 Пружина
АвтоКаталог-онлайн предоставлен Компанией АвтоСофт