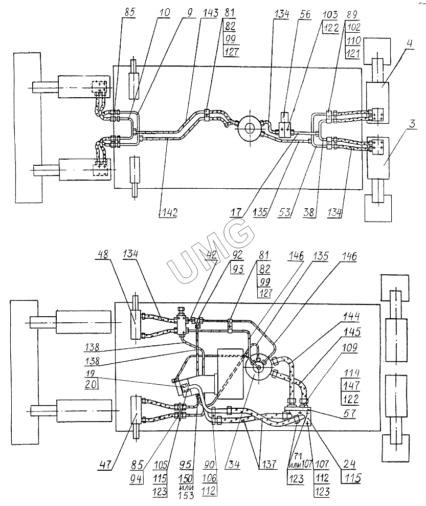
E185W (ЕК-18). Гидрооборудование на ходовой раме
3
4
9
10
17
19
20
24
34
38
42
47
48
53
56
57
71
81
81
82
82
85
85
89
90
92
93
94
95
99
99
102
103
105
106
107
107
109
110
112
112
114
115
115
121
122
122
123
123
123
127
127
134
134
134
135
135
137
138
138
142
143
144
145
146
146
147
150
153
| Позиция на иллюстрации | Заводской номер детали | Название детали | |
|---|---|---|---|
| РТМ-К1 | РТМ-К1 | Рукав высокого давления | |
| ТУ3148-001-20871731-94(РТМЮ2) | ТУ3148-001-20871731-94(РТМЮ2) | Рукав высокого давления | |
| 3 | 318-02-72.00.300 | Гидроцилиндр выносных опор правый | |
| 4 | 318-02-72.00.400 | Гидроцилиндр выносных опор левый | |
| 9 | 314-02-71.00.600-10 | Трубопровод | |
| 10 | 314-02-71.00.610-10 | Трубопровод | |
| 17 | 314-02-71.00.680 | Трубопровод | |
| 19 | 313-00-73.80.010 | Фланец | |
| 20 | 318-40-71.00.010 | Фланец | |
| 24 | 314-02-71.00.750 | Фланец | |
| 34 | 314-02-71.00.850 | Коллектор центральный | |
| 38 | 08.20.70.060 | Трубопровод | |
| 42 | ЭО-3323А.71.80.030 | Трубопровод | |
| 47 | ЭО-3323А.71.80.300-10 | Цилиндр поворота колес правый | |
| 48 | ЭО-3323А.71.80.400-10 | Цилиндр поворота колес левый | |
| 53 | ЭО-3323.20.83.230 | Трубопровод | |
| 56 | ЭО-3322Д.60.05.000 | Клапан пневмогидравлический | |
| 57 | У4620.41.00.000 | Гидроклапан противообгонный | |
| 64 | 005-01-80.01.100 | Трубопровод | |
| 71 | 314-02-71.00.001 | Шпилька | |
| 81 | 318-45-80.01.003 | Прижим | |
| 82 | 318-45-80.01.004 | Планка | |
| 85 | ЭО-3322Д.23.02.003 | Гайка | |
| 89 | ЭО-3322А.66.01.001 | Скоба | |
| 90 | ЭО-3323.41.08.006 | Скоба | |
| 92 | 314-02-80.05.001-10 | Штуцер | |
| 93 | ЭО-302.1-1200-01 | Штуцер | |
| 94 | ЭО-3322.20.80.008 | Штуцер | |
| 95 | 005-04-80.01.006 | Штуцер | |
| 99 | М10-6gх70.58.016 | Болт | |
| 102 | М8-6gх50.58.016 | Болт | |
| 103 | М10-6gх20.58.016 | Болт | |
| 105 | М12-6gх35.88.016 | Болт | |
| 106 | М12-6gх50.58.016 | Болт | |
| 107 | М12-6gх110.88.016 | Болт | |
| 109 | М10-6gх35.88.35Х.016 | Винт | |
| 110 | М8-6Н.5.016 | Гайка | |
| 112 | М12-6Н.5.016 | Гайка | |
| 114 | 030-035-30-2-3 | Кольцо | |
| 115 | 038-044-36-2-3 | Кольцо | |
| 121 | 8.65Г.016 | Шайба | |
| 122 | 10.65Г.016 | Шайба | |
| 123 | 12.65Г.016 | Шайба | |
| 127 | С10.01.08кп.019 | Шайба | |
| 134 | 12-28(М22х1.5)-650-У | РВД | |
| 135 | 12-28(М22х1.5,00-М22х1.5,900)-1050-У | Рукав | |
| 137 | 20-33(М42х2)-650-У | Рукав | |
| 138 | 12-28(М22х1.5,00-М22х1.5,900)-850-У | Рукав | |
| 142 | 12-28(М22х1.5)-1750-У | Рукав | |
| 143 | 12-28(М22х1.5,00-М22х1.5,900)-1750-У | Рукав | |
| 144 | 20-33(М42х2-d.40)-850-У | Рукав | |
| 145 | 20-33(М42х2-d.40)-950-У | Рукав | |
| 146 | 12-28(М22х1.5,00-М22х1.5,900)-1250-У | Рукав | |
| 147 | FLH-6600PSI23442060 | Рукав | |
| 148 | РВДDIN(EN856)4SP-20-350-650-(DKS24°)/M42x2/0°-(DKS24°)/M42x2/0° | РВД | |
| 150 | 400-768-5590 | Прокладка | |
| 153 | 14E232YO/M18/ | Уплотнение Guardex |