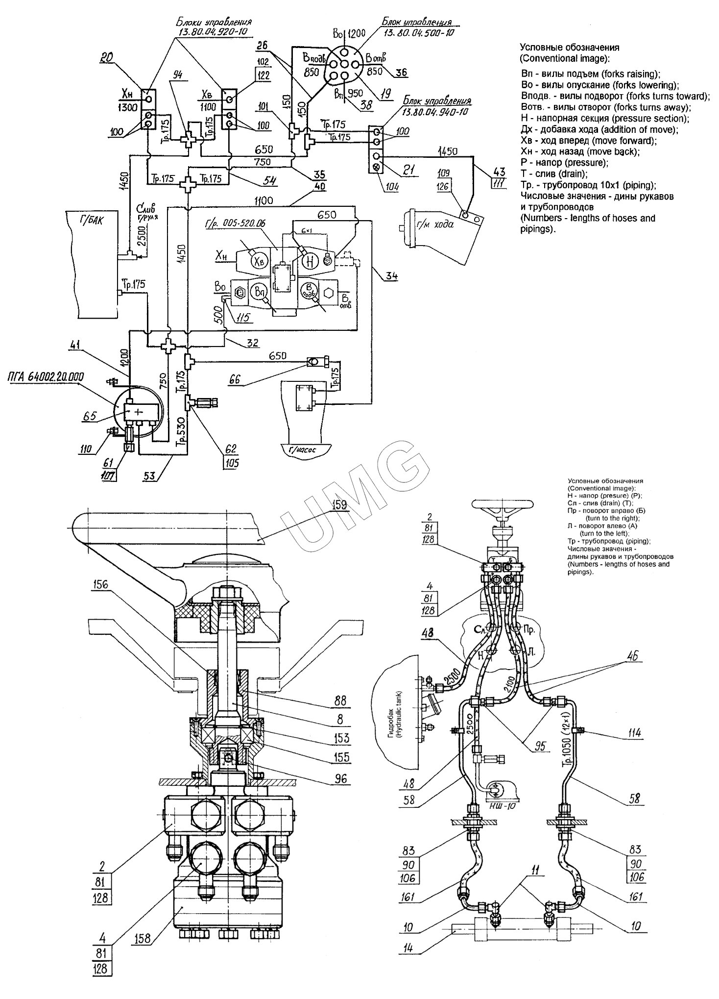
ВП-05 (вариант). 005-04-80.04.000 Гидроуправление
2
2
4
4
8
10
10
11
14
19
20
21
26
32
34
35
36
38
40
41
43
46
48
48
53
54
58
58
61
62
65
66
81
81
81
81
83
83
88
90
90
94
95
96
100
100
100
101
102
104
105
106
106
107
109
110
111
114
115
122
126
128
128
128
128
153
155
156
158
159
161
161
| Позиция на иллюстрации | Заводской номер детали | Название детали | |
|---|---|---|---|
| 2 | 005-04-80.04.020 | Переходник | |
| 4 | 005-04-80.04.040 | Переходник | |
| 8 | 005-04-80.04.080 | Вал | |
| 10 | 005-01-80.01.100 | Трубопровод | |
| 11 | 005-01-80.01.210 | Угольник | |
| 14 | 005-01.80.09.000 | Гидроцилиндр | |
| 19 | 13.80.04.500-10 | Блок управления | |
| 20 | 13.80.04.920-10 | Блок управления | |
| 21 | 13.80.04.940-10 | Блок управления | |
| 26 | ЭО-3323А.07.31.040 | Рукав (L=150 мм) | |
| 32 | ЭО-3323А.07.31.090 | Рукав L=500 мм | |
| 34 | ЭО-3323А.07.31.110 | Рукав L=650 мм | |
| 35 | ЭО-3323А.07.31.120 | Рукав L=750 мм | |
| 36 | ЭО-3323А.07.31.125-10 | Рукав L=850 мм | |
| 38 | ЭО-3323А.07.31.130-10 | Рукав L=950 мм | |
| 40 | ЭО-3323А.07.31.150 | Рукав L= 1100 мм | |
| 41 | ЭО-3323А.07.31.160 | Рукав L=1200 мм | |
| 42 | ЭО-3323А.07.31.170 | Рукав L=1300 мм | |
| 43 | ЭО-3323А.07.31.180 | Рукав (L=1450 мм) | |
| 46 | ЭО-3323А.07.31.210 | Рукав (L=2100 мм) | |
| 48 | ЭО-3323А.07.31.230 | Рукав L=2500 мм | |
| 53 | ЭО-3323А.07.21.350 | Трубопровод | |
| 54 | ЭО-3323А.07.21.360 | Трубопровод | |
| 58 | 13.71.80.050 | Трубопровод 12x1 L=1050 мм | |
| 61 | ЭО-3323.01.82.680 | Включатель манометра | |
| 62 | ЭО-3322А.23.02.260 | Включатель манометра | |
| 65 | 64002.20.000 | Пневмогидроаккумулятор с гидроклапанами | |
| 66 | СП-71.0.30.100-10 | Клапан обратный | |
| 81 | 005-04-80.04.002 | Болт | |
| 83 | 005-04-80.04.004 | Штуцер | |
| 88 | 005-04-80.04.009 | Крышка | |
| 90 | 005-04-04.00.002 | Шайба | |
| 94 | ЭО-3323А.07.21.003 | Крестовина | |
| 95 | ЭО-3323А.08.07.002-01 | Штуцер | |
| 96 | ЭО-3323.07.13.002 | Штифт | |
| 100 | ЭО-3322А.24.00.005 | Штуцер | |
| 101 | ЭО-3322А.24.01.004 | Тройник | |
| 102 | 520.20.20.025 | Штуцер | |
| 104 | ЭО-3322А.24.01.014 | Заглушка | |
| 105 | ЭО-3322А.23.03.006 | Тройник | |
| 106 | ЭО-3322А.23.02.003 | Гайка | |
| 107 | ЭО-3322А.09.01.015 | Втулка | |
| 109 | ЭО-3322Б.11.07.015 | Штуцер | |
| 110 | ЭО-3322Б.23.03.008 | Хомут | |
| 111 | 312-04-80.04.002 | Чехол | |
| 114 | ЭО-3322В.47.20.002 | Хомут | |
| 115 | 318-14-21.09.004 | Угольник | |
| 122 | 9833.012-016-25-2-2 | Кольцо | |
| 126 | 23358.12М3 | Прокладка | |
| 128 | 23358.20М3 | Прокладка | |
| 153 | 13940.В25 | Кольцо | |
| 155 | 8338.205 | Подшипник | |
| 156 | 520.941/20 | Подшипник | |
| 158 | НДМ80-У250 | Насос-дозатор моноблочный | |
| 159 | 10.226.000.00 | Колесо рулевое «Вираж» | |
| 161 | РВД12-28(М22х1,5)-650-У | РВД | |
| 166 | 2405.МТП-3М | Манометр d=60мм Р=16 МПа | |
| 167 | 2405.МТП-3М | Манометр d=60мм Р=16 МПа |