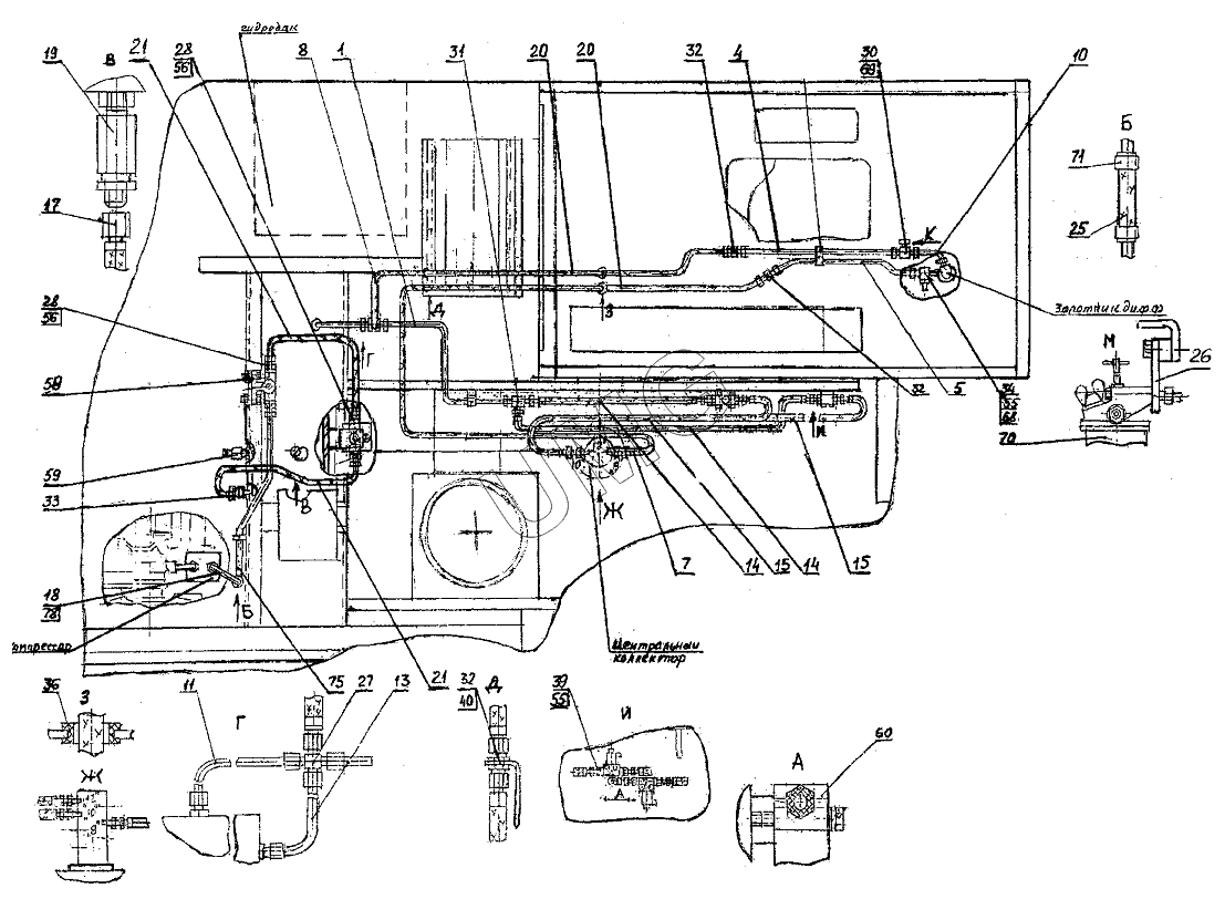
ЕК-18-40. 318-40-81.10.000 Пневмоуправление на поворотной платформе
1
4
5
7
8
10
11
13
14
14
15
15
17
18
19
20
20
21
21
25
26
27
28
28
30
31
32
32
32
33
34
36
39
40
55
55
56
56
58
59
60
68
69
70
71
75
| Позиция на иллюстрации | Заводской номер детали | Название детали | |
|---|---|---|---|
| 1 | 318-40-81.10.010 | Трубопровод | |
| 4 | 318-40-81.00.010 | Трубопровод | |
| 5 | 318-40-81.00.020 | Трубопровод | |
| 7 | 318-40-81.00.090 | Шланг | |
| 8 | 318-40-81.00.120 | Шланг | |
| 10 | 312-04-81.10.030 | Трубопровод | |
| 11 | 314-02-81.00.010 | Трубопровод | |
| 13 | 314-02-81.00.140 | Трубопровод | |
| 14 | 314-02-81.00.180 | Шланг | |
| 15 | 314-02-81.00.190 | Шланг | |
| 17 | 318-16-81.00.050 | Шланг для накачивания шин | |
| 18 | 13.01.91.110 | Трубопровод | |
| 19 | 13.01.91.250 | Кран отбора воздуха | |
| 20 | ЭО-3323А.07.31.280 | Шланг | |
| 21 | 314-02-81.10.030 | Шланг | |
| 25 | 312-04-81.10.001 | Рукав 12х20-1,6В ГОСТ 10362-76 L=110+/-5 мм | |
| 26 | 314-02-81.10.001 | Планка | |
| 27 | ЭО-3323А.07.21.003 | Крестовина | |
| 28 | ЭО-3322А.66.01.005 | Штуцер | |
| 30 | ЭО-3322А.23.03.006 | Тройник | |
| 31 | ЭО-3322А.24.01.004 | Тройник | |
| 32 | ЭО-3322А.24.01.005 | Штуцер | |
| 33 | ЭО-3322А.23.03.002 | Штуцер | |
| 34 | 005-04-81.10.001 | Тройник | |
| 36 | Э302-1-1200-41 | Втулка предохранительная | |
| 39 | ЭО-3322Б.11.07.015 | Штуцер | |
| 40 | 6316А.21.20.002 | Гайка | |
| 55 | 23358.12М3 | Прокладка | |
| 56 | 23358.22М3 | Прокладка | |
| 58 | 100-3512010 | Регулятор давления | |
| 59 | ОСТ37.001.240.ПС-7 | Кран сливной | |
| 60 | КЭМ16-12 | Клапан электромагнитный | |
| 68 | 2802.3829010 | Датчик | |
| 69 | 18.3829 | Датчик | |
| 70 | 100-3536010 | Предохранитель от замерзания | |
| 71 | 13-22 | Хомут | |
| 75 | 314-02-81.00.100 | Трубопровод |