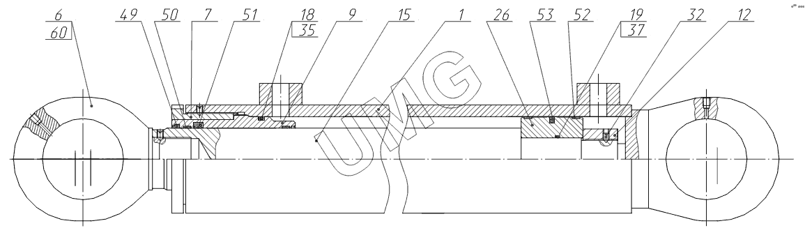
ЕК-18-45-60. 110-80-11.02.000-13 Гидроцилиндр рукояти (с уплотнениями “Хайлайт”) с 1.06.2008 г.
1
6
7
9
12
15
18
19
26
32
35
37
49
50
51
52
53
60
| Позиция на иллюстрации | Заводской номер детали | Название детали | |
|---|---|---|---|
| 1 | 110-70-11.03.100 | Цилиндр | |
| 6 | ЭО-3323А.71.82.001-11 | Проушина | |
| 7 | 313-00-23.94.002-11 | Гайка наружная | |
| 9 | 110-80-11.02.004-13 | Букса | |
| 12 | 08.46.99.019 | Гайка | |
| 15 | 110-80-11.02.005 | Шток | |
| 18 | 313-00-23.94.008 | Кольцо защитное | |
| 19 | ЭО-3323А.71.80.109 | Кольцо защитное | |
| 26 | 313-00-23.94.026-12 | Поршень | |
| 32 | В.М8-6gх12.14H.016 | Винт | |
| 35 | 100-110-58-2-3 | Кольцо | |
| 37 | 055-060-30-2-3 | Кольцо | |
| 49 | Tun38/6618700 | Грязесъемник | |
| 50 | T50680х85х9.7 | Направляющая штока | |
| 51 | Tun621/4317710 | Манжета | |
| 52 | Е20-105-110 | Кольцо | |
| 53 | Е15М-110-5 | Уплотнение | |
| 60 | ТУ225761-017-51049574-2002 | Герметик |