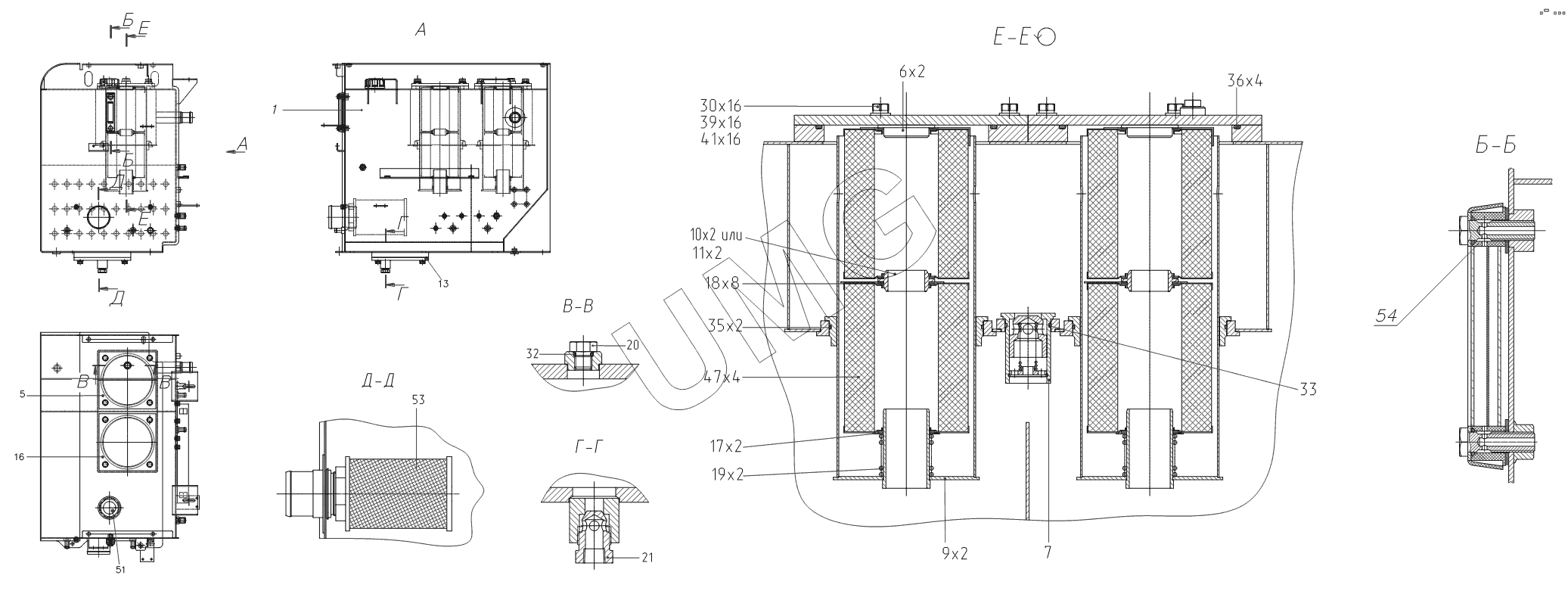
ЕК-18-90. 314-90-80.08.000 Бак гидравлический
1
1
5
6
7
9
10
11
13
16
17
18
19
20
21
30
32
33
35
36
39
41
47
51
53
54
| Позиция на иллюстрации | Заводской номер детали | Название детали | |
|---|---|---|---|
| 1 | 314-90-80.08.100 | Бак | |
| 5 | 314-02-80.08.050 | Крышка | |
| 6 | 314-02-80.08.320-10 | Пробка | |
| 7 | 314-02-80.08.350 | Клапан предохранительный | |
| 9 | 314-02-80.11.500 | Стакан | |
| 10 | 23.01.84.340 | Шайба промежуточная | |
| 11 | 23.01.84.340-10 | Шайба промежуточная | |
| 13 | 312-04-80.09.400 | Крышка | |
| 16 | 314-02-80.08.001-20 | Крышка | |
| 17 | 23.01.84.302 | Шайба | |
| 18 | 23.01.84.301 | Кольцо уплотнительное | |
| 19 | 23.01.84.305 | Пружина | |
| 20 | ЭО-3322А.24.01.014 | Заглушка | |
| 21 | ЭО-3322А.04.08.003 | Штуцер | |
| 30 | М12-6gх25.58.016 | Болт | |
| 32 | 012-016-25-2-3 | Кольцо | |
| 33 | 049-055-36-2-3 | Кольцо | |
| 35 | 180-185-36-2-3 | Кольцо | |
| 36 | 210-220-58-2-3 | Кольцо | |
| 39 | 12.65Г.016 | Шайба | |
| 41 | С12.01.08кп.016 | Шайба | |
| 47 | Э55Р-661А-1-06 | Элемент фильтрующий жидкости гидросистем | |
| 51 | TM178GS100P3 | Горловина заливная | |
| 53 | MSZ-403 | Фильтр всасывающий | |
| 54 | PL21VPLV20A | Индикатор уровня масла |