TLH 4007-11. Установка кондиционера и отопителя
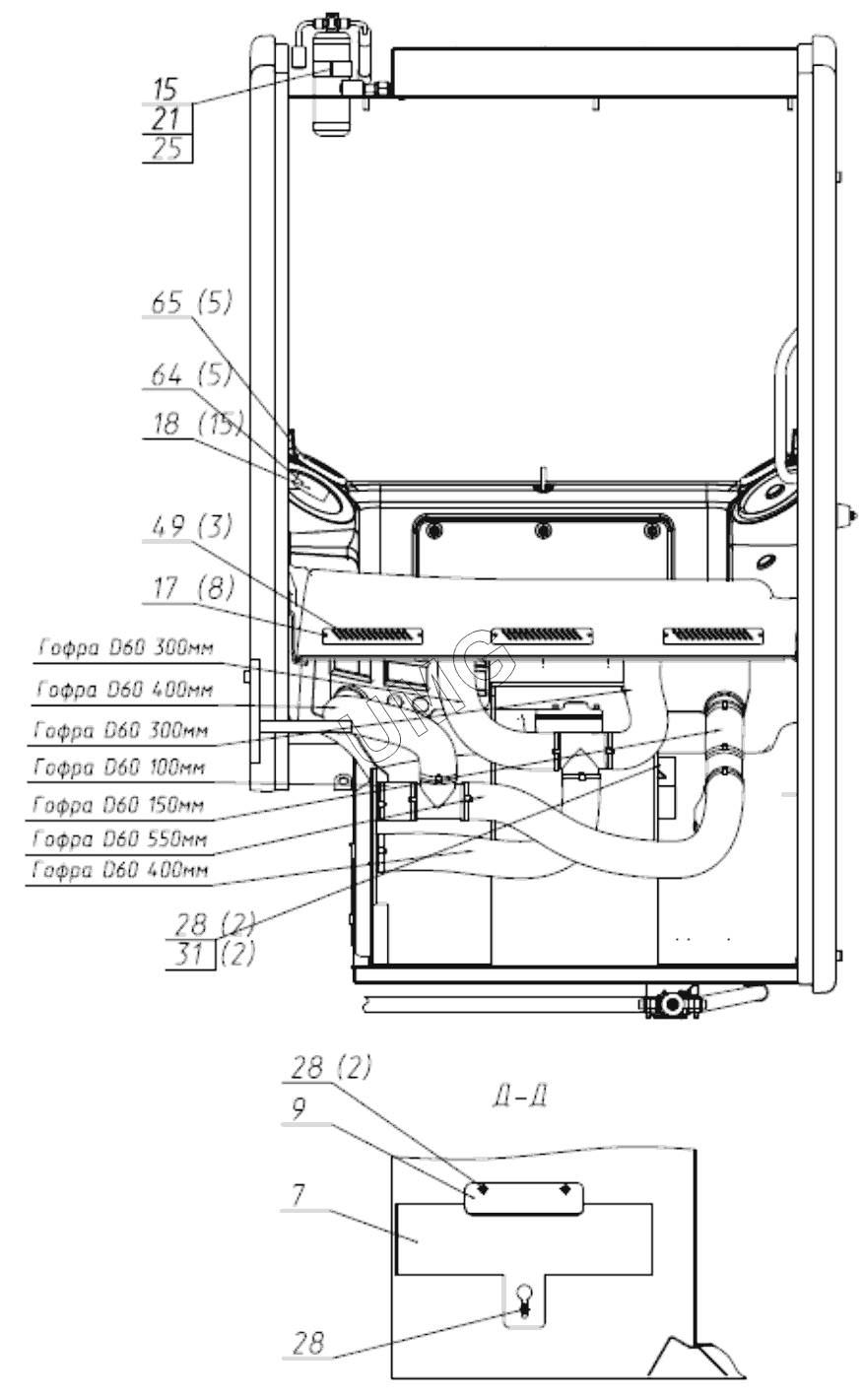
7
9
15
17
18
21
25
28
28
28
31
49
64
65
| Позиция на иллюстрации | Заводской номер детали | Название детали | |
|---|---|---|---|
| 026400140 1 | 026400140 1 | Болт | |
| 1 | 26950000378 | Рукав | |
| 2 | 26950000379 | Рукав | |
| 3 | 26950011750 | Рукав | |
| 6 | 26950030223 | Крышка салонного фильтра | |
| 7 | 26950031417 | Кронштейн испарителя | |
| 8 | 26950030227 | Уголок ресивера | |
| 9 | 26950030225 | Планка прижима кронштейна отопителя | |
| 12 | 026400051 1 | Болт | |
| 13 | 026400110 1 | Болт | |
| 14 | 026400121 1 | Болт | |
| 15 | 026400132 1 | Болт | |
| 17 | 026420109 1 | Саморез | |
| 18 | 026420144 1 | Саморез | |
| 19 | 026401106 1 | Гайка | |
| 20 | 026410604 1 | Гайка | |
| 21 | 026410608 1 | Гайка | |
| 23 | 026440202 1 | Шайба | |
| 24 | 026440204 1 | Шайба | |
| 25 | 026440205 1 | Шайба | |
| 26 | 026440604 1 | Шайба | |
| 27 | 026440608 1 | Шайба | |
| 28 | 026400850 1 | Болт | |
| 29 | 026430048 1 | Винт | |
| 30 | 026420205 1 | Винт | |
| 31 | 026401006 1 | Гайка | |
| 34 | 26950029778 | Комплект климатической системы | |
| 35 | 265000419 1 | Манжета переходная | |
| 36 | 923820074 1 | Скоба резиноармированная | |
| 37 | 923820075 1 | Скоба резиноармированная | |
| 38 | 02100000562 | Тройник воздуховода из пластика | |
| 39 | 102600118 1 | Фитинг для РВД | |
| 40 | 923820327 1 | Хомут | |
| 41 | 923820335 1 | Хомут | |
| 42 | 923820014 1 | Хомут | |
| 43 | 923820059 1 | Хомут пластиковый | |
| 46 | 26950031754 | Компрессор кондиционера | |
| 49 | 26950025761 | Дефлектор | |
| 52 | 026482104 1 | Адаптер | |
| 55 | 901415094 1 | Дефлектор вытяжной вентиляции | |
| 58 | 911214975 1 | Фильтр салонный | |
| 61 | 923400753 1 | Опора мотора стеклоподъемника | |
| 64 | 923810035 1 | Патрубок для гофрошланга 2 | |
| 65 | 923810036 1 | Жалюзи | |
| 68 | 913531012 1 | Защитная решетка воздухозаборника | |
| 71 | 918102004 1 | Тройник воздуховода из пластика | |
| 74 | 913531014 1 | Распределительный клапан | |
| 77 | 923113713 1 | Поворотный блок управления | |
| 80 | 26950009765 | Подложка | |
| 81 | 923113715 1 | Рукоятка | |
| 84 | 923400767 1 | Фитинг | |
| 87 | 051244804 1 | Вибропласт | |
| 90 | 26950032254 | Гибкая гофрированная труба | |
| 91 | 26950032254 | Гибкая гофрированная труба | |
| 93 | 26950032255 | Гибкая гофрированная труба | |
| 94 | 26950032255 | Гибкая гофрированная труба | |
| 96 | 923400626 1 | Защита РВД пластиковая | |
| 97 | 051244797 1 | Изотон |