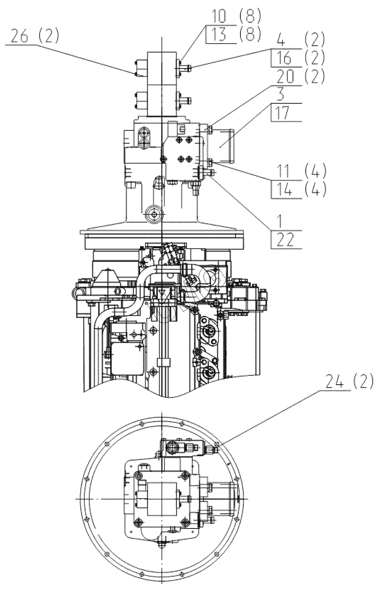
ЭОВ-3523. Гидрооборудование силовой установки 3523-00-41.10.000
1
3
4
10
11
13
14
16
17
20
22
24
26
| Позиция на иллюстрации | Заводской номер детали | Название детали | |
|---|---|---|---|
| 3523-00-41.10.000 | 3523-00-41.10.000 | Гидрооборудование силовой установки | |
| 1 | 130-00-25.00.704 | Ниппель | |
| 3 | 160-00-41.00.001 | Патрубок | |
| 4 | 160-00-41.00.002 | Фланец | |
| 10 | Болт М6-6gх25.88.35Х.016 | Болт | |
| 11 | Болт М16-6gх40.58.016 | Болт | |
| 13 | Шайба 6.65Г.016 | Шайба | |
| 14 | Шайба 16.65Г.016 | Шайба | |
| 16 | Кольцо 025-031-36-2-3 | Кольцо | |
| 17 | Кольцо 090-095-30-2-3 | Кольцо | |
| 20 | DB-3000-3" - M/U | Полуфланец | |
| 22 | 14E239YO | Уплотнение | |
| 24 | 100606.1 ct | Адаптер | |
| 26 | R35-15L-90 | Фланец R35-15L-90 |