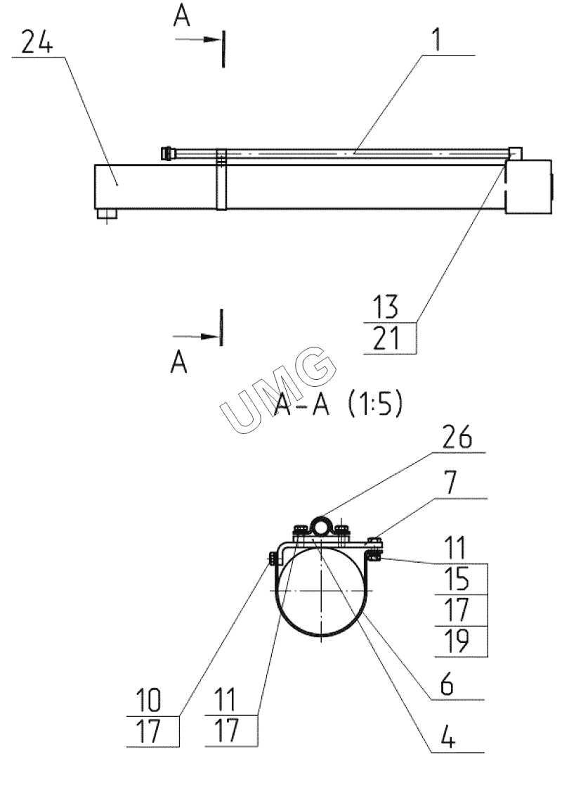
E195A. Гидроцилиндр рукояти с трубопроводами 3523-00-81.30.100
1
4
6
7
10
11
11
13
15
17
17
17
19
21
24
26
| Позиция на иллюстрации | Заводской номер детали | Название детали | |
|---|---|---|---|
| 3523-00-81.30.100 | 3523-00-81.30.100 | Гидроцилиндр рукояти с трубопроводами | |
| 1 | 3523-00-81.30.130 | Трубопровод | |
| 4 | 3523-00-80.90.018 | Планка | |
| 6 | 3523-00-81.30.001 | Хомут | |
| 7 | 3523-00-81.30.002 | Кронштейн | |
| 10 | Болт М10-6gх20.58.016 | Болт | |
| 11 | Болт М10-6gх35.58.016 | Болт | |
| 13 | Винт М12-6gх35.109.40Х.016 | Винт | |
| 15 | Гайка М10-7Н.5.016 | Гайка | |
| 17 | Шайба 10.65Г.016 | Шайба | |
| 19 | Шайба С10.01.08кп.016 | Шайба | |
| 21 | Кольцо 032-038-36-2-3 | Кольцо | |
| 24 | Гидроцилиндр ГЦ 125х90х1185 | Гидроцилиндр | |
| 26 | Седельный зажим стальной | Седельный зажим стальной |