M300. 30-00-28.00.000 Установка силовая
30-00-28.00.000
30-00-28.09.000
26950011307
1
2
3
4
8
9
10
12
13
14
17
18
21
22
25
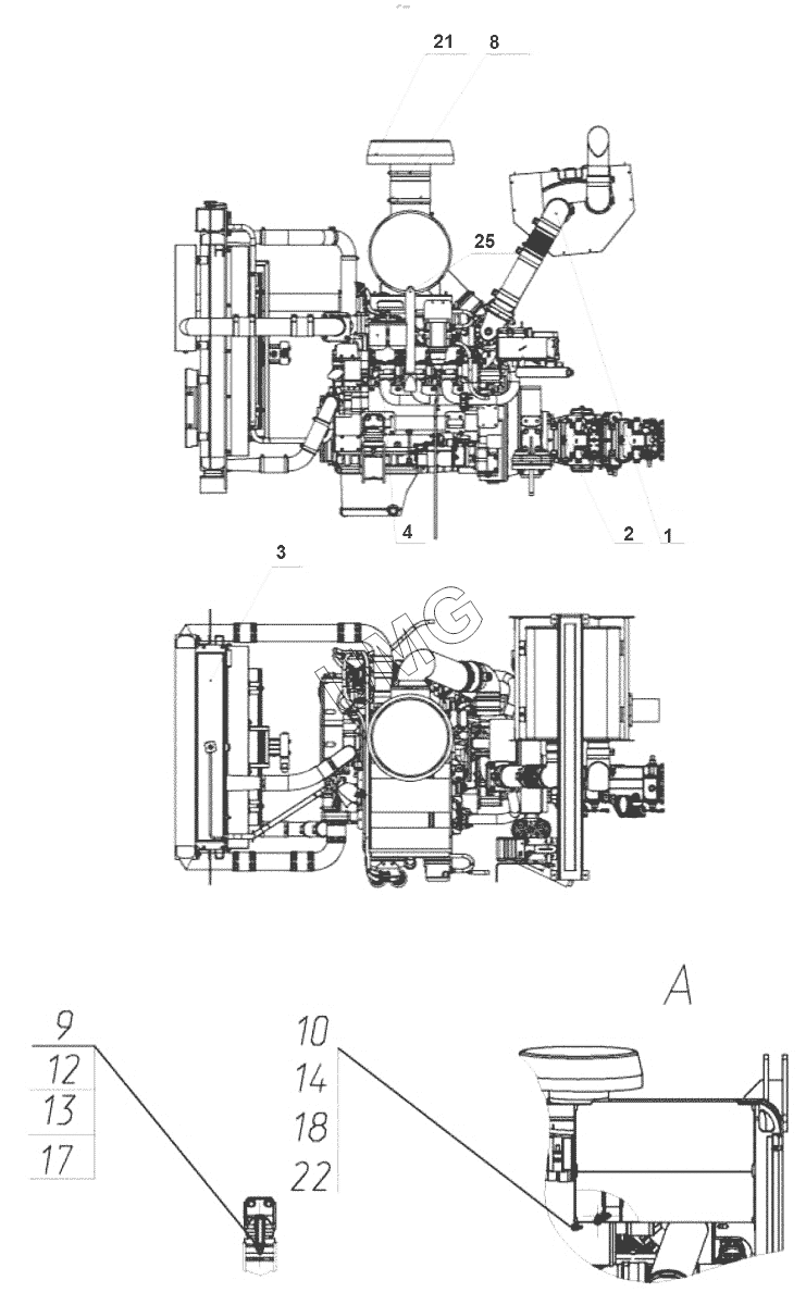
| Позиция на иллюстрации | Заводской номер детали | Название детали | |
|---|---|---|---|
| 30-00-28.00.000 | 30-00-28.00.000 | Установка силовая | |
| 30-00-28.09.000 | 30-00-28.09.000 | Установка перегородок | |
| 26950011307 | 26950011307 | Грибок | |
| 26950010135 | 26950010135 | Дизельный двигатель | |
| 1 | 30-00-28.01.000 | Установка глушителя | |
| 2 | 30-00-28.02.000 | Установка насосов | |
| 3 | 30-00-28.03.000 | Установка блока радиаторов | |
| 4 | 30-00-28.05.000 | Установка топливопроводов | |
| 5 | 30-00-28.11.001 | Экран | |
| 6 | 30-00-28.11.001-10 | Экран | |
| 7 | 30-00-28.11.002 | Кронштейн | |
| 8 | 30-00-28.00.001 | Втулка | |
| 9 | 02120000692 | Гайка | |
| 10 | 02120000127 | Гайка | |
| 11 | 02120000136 | Гайка | |
| 12 | 26950004409 | Болт | |
| 13 | 02120000629 | Шайба | |
| 14 | 02120000626 | Шайба | |
| 15 | 02120000635 | Шайба | |
| 16 | 02120000627 | Шайба | |
| 17 | 02120000637 | Шайба | |
| 18 | 02120000013 | Болт | |
| 19 | 02120000059 | Болт | |
| 20 | 02120000022 | Болт | |
| 21 | 26950011306 | Хомут червячный | |
| 22 | 02120000619 | Шайба | |
| 23 | 02120000625 | Шайба | |
| 24 | 02120000620 | Шайба | |
| 25 | 02100000596 | Хомут |